連接件模型
Connector Model
Connector Model
聯系APAS / Contact us
- 地址:天津市西青經濟技術開發區賽達國際工業城A3-2.
- 郵箱:lxc@apas.com.cn
- 電話:022-87920088
- 傳真:請聯系網絡管理員
- 郵編:300385
- 咨詢熱線:13702119190(24小時服務熱線)
連接件模型
/ Connector Model

40系列鋁型材強力鑄鋁角件3D模型
產品描述 / Name
CE-SB4080-8規格鑄鋁角件屬于鋁型材框架強力連接配件,是較為常用的實用型鋁型材連接配件,設計師可以下載鑄鋁角件三維模型進行框架的設計構想;
022-87920099
可以根據需求進行設計加工,提供上門安裝服務;可以根據特殊需求進行鋁型材開模定制。
* 免費提供工業鋁型材選型手冊 →點擊咨詢
內容來源:http://www.shdingxiang.cn 作者:武將 發布日期:2020年03月18日 13時16分 閱讀次數:3381 次
|
4040鋁型材強力鑄鋁角件是一款較為常用的高強度連接配件,主要應用于大型工業框架的組裝連接;強力鑄鋁角件雙固定孔可以使角件與鋁型材之間連接更為緊固,不容易松動,而且強力鑄鋁角件的斜撐能力更強,屬于實用型鋁型材配件產品; |
![]() ![]()
|
| 40系列鋁型材強力鑄鋁角件被廣泛應用的同時也具有一定的弊端,鑄鋁角件在低溫環境中產品韌性較低,在經過較大的扭力情況下容易斷裂,所以當鋁型材框架需要在低溫環境中使用時,盡可能選用鋁型材強力角件; |
|
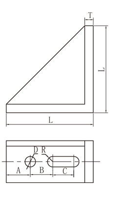
槽型規格
|
L(mm)
|
W(mm)
|
W1(mm)
|
A(mm)
|
B(mm)
|
R(mm)
|
T(mm)
|
D(mm)
|
材質
|
訂貨編號
|
|
槽8
|
78
|
39
|
7.8
|
17
|
20
|
4.25
|
6.5
|
φ8.5
|
鑄鋁
|
CE-SB4080-8
|
聯系APAS/ Contact us
天津艾普斯工業鋁型材股份有限公司
聯系電話:022-87920088
企業傳真:(避免惡意廣告)請聯系該企業網絡管理員
服務熱線:13702119190 (24小時服務熱線)
Q Q:534973906
企業郵箱: lxc@apas.com.cn
企業地址:天津市西青經濟技術開發區賽達國際工業城A3-2
聯系電話:022-87920088
企業傳真:(避免惡意廣告)請聯系該企業網絡管理員
服務熱線:13702119190 (24小時服務熱線)
Q Q:534973906
企業郵箱: lxc@apas.com.cn
企業地址:天津市西青經濟技術開發區賽達國際工業城A3-2
采購意向留言:* 為必填









.jpg)





QQ咨詢
電話聯系
聯系電話

在線留言
樣冊下載
